I SEGRETI DEL CARDIO REBOUNDER
L’Aeropilates si sposta quando salti? Dopo l’allenamento senti la zona lombare indolenzita? Non sai come aumentare il battito cardiaco per “bruciare” più calorie?
In questa guida non ufficiale trovi un po’ di informazioni che ho raccolto per rispondere a queste e ad altre tante domande.
Condivido i consigli che Marjolein ha scritto su Facebook o suggerito in diretta, su questo sito o che ci siamo scambiati nel gruppo o ancora che ho testato personalmente.
Spero possano servirti per sfruttare al meglio tutte le potenzialità del Cardio Rebounder.
Ovviamente, adatta ogni allenamento e informazione alle tue esigenze e necessità: sei sempre tu a decidere cosa va bene per te e vale sempre la regola che se qualcosa ti fa male, devi fermarti. In caso di problemi fisici o dubbi, devi sempre sentire il tuo medico: qui e nel gruppo amatoriale su Facebook vengono condivise esperienze personali che, anche se simili alle tue, potrebbero non essere adatte a te.
Queste informazioni hanno il scopo informativo e non sostituiscono la visita medica o il rapporto diretto con il proprio medico curante. 
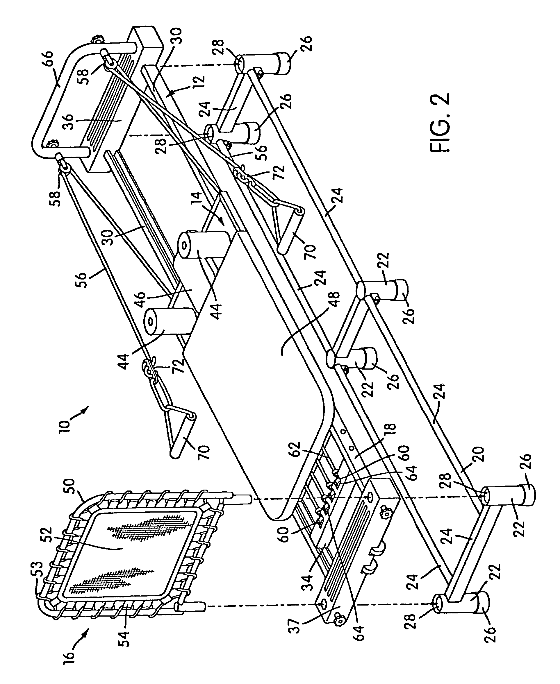
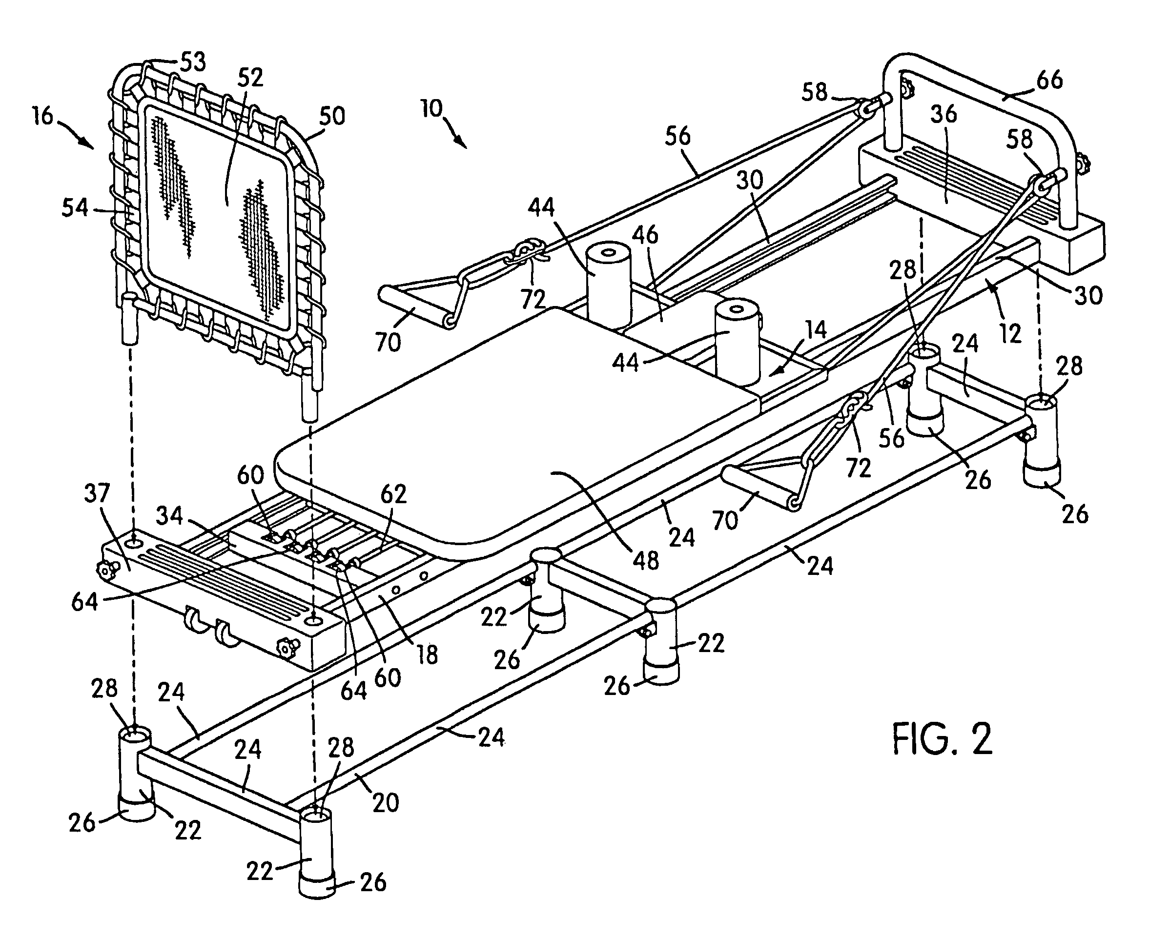
Immagine tratta da uno dei brevetti relativi all’Aeropilates
COS’È IL CARDIO REBOUNDER? (e perché è diverso dalla classica jumpboard?)
Il Cardio Rebounder è un trampolino elastico che rende speciale l’Aeropilates: puoi fare attività cardio da sdraiata, senza l’impatto che avresti ad esempio su piedi e ginocchia mentre corri.
Il Cardio Rebounder (brevettato) non va confuso con la Jump Board rigida che si trova sugli altri reformer perché il salto è diverso: per quanto imbottita, la Jumpboard non ha una superficie elastica e quindi anche l’impatto sulle articolazioni è diverso. Inoltre è un accessorio decisamente pesante, che ne rende l’utilizzo a casa meno agevole.
Si tratta di due accessori (creati dopo la morte di Joseph Pilates) per due motivi diversi: la Jump Board per la riabilitazione e per allenare i ballerini a saltare meglio (la superficie rigida ricrea l’impatto del pavimento ); il Cardio Rebounder per l’attività cardio vascolare a basso impatto sul reformer.
QUALI SONO I BENEFICI DELL’ALLENAMENTO CARDIOVASCOLARE?
Il cuore è un muscolo e, come gli altri muscoli del tuo corpo, ha bisogno di essere allenato regolarmente per mantenersi in forma.
L’allenamento cardio vascolare ha diversi benefici*, come il miglioramento della funzione cardiovascolare, un maggior controllo del peso, la riduzione dello stress, il miglioramento della circolazione, il minor affaticamento quotidiano.
*https://www.scienzemotorie.com/allenamento-cardiovascolare-quali-sono-i-benefici/
PER QUANTI MINUTI DEVO USARE IL CARDIO REBOUNDER?
Marjolein suggerisce sessioni di 20 minuti (lei arriva anche a 40!), alternando ad esempio il numero delle corde ogni tot minuti (ad esempio, 5 minuti con 2 corde nere, 5 minuti con 1 rossa, 5 minuti con 1 rossa e 1 gialla, 5 minuti con 1 nera).
Se hai appena iniziato con l’Aeropilates, parti con 5 minuti, senza esagerare con le corde (scegli una resistenza media) e aumenta di un paio di minuti di volta in volta. Oppure, i 20 minuti possono anche essere suddivisi in diversi momenti della giornata; o durante il workout, quando si cambia posizione (ad esempio, da sdraiati a seduti). Nei video dedicati, Marjolein suggerisce diverse opzioni e combinazioni possibili: non ti resta che trovare la tua preferita!
VA BENE PER IL DRENAGGIO LINFATICO? È PIÙ O MENO EFFICACE DEL TRAMPOLINO TRADIZIONALE?
La risposta di Marjolein: “Per quanto riguarda il drenaggio linfatico, il cardio rebounder è tanto efficace quanto il trampolino verticale, senza il fastidioso impatto (sulle articolazioni). Il drenaggio linfatico si attiva quando i muscoli si contraggono. Il sistema linfatico si basa sulla contrazione muscolare per creare il flusso. Il Cardio Rebounder è rivoluzionario, ma molto più divertente e gentile.”
“Con il rebounder la tensione media è perfetta.” - Marjolein Brugman
Con una tensione media si favorisce il movimento del salto e quindi lo spostamento e la circolazione dei fluidi linfatici.
QUANTE VOLTE DEVO USARLO?
In linea generale dipende dal tuo obiettivo:
- 
      
        
          
        
      
      In linea generale, oltre all’attenzione ad una dieta bilanciata e ad eventuali indicazioni del tuo specialista, Marjolein nei suoi studi ha riscontrato effetti positivi. 
 Chiaramente i risultati dipendono da diversi fattori e variabili, che non rientrano nello scopo di questo articolo.Per questo obiettivo Marjolein suggerisce di usare il Cardio Rebounder almeno 3 volte la settimana per almeno 20 minuti. Nel tuo programma settimanale, non dimenticarti della routine di pilates, per lavorare su tono, forza e flessibilità. 
 Per un allenamento completo potresti ad esempio organizzarti così:• ti alleni 3 volte la settimana, facendo un’unica sessione con il Reformer e il Cardio Rebounder (c.a. 40 minuti). • ti alleni 6 volte la settimana, alternando una volta il Reformer e l’altra il Cardio Rebounder, per 20 minuti a sessione. Se preferisci fare un’unica sessione di Reformer e Cardio Rebounder ci sono altre due opzioni: a) Fai prima gli esercizi con il Reformer e poi con il Cardio Rebounder. Se preferisci fare il riscaldamento con il Cardio Rebounder e poi continuare con il Reformer, parti con calma e presta sempre attenzione a non sforzare la zona lombare. b) Alterni Reformer e Cardio Rebounder, facendo ad esempio 3 blocchi da 7 minuti circa di Cardio Rebounder. 
 Io ad esempio, li faccio dopo gli Hundreds (alla fine degli esercizi da sdraiati), dopo gli esercizi da seduti con le braccia e alla fine, chiudendo poi con lo stretching (Monkey Stretch, Piriformis Stretch, Eve’s Lunge).
 Sono ovviamente idee per organizzare un’allenamento, che non possono tenere conto delle tue esigenze e non sostituiscono il parere del tuo medico o dello specialista che ti sta seguendo.
- 
      
        
      
      Se cerchi i benefici di un allenamento cardio, puoi ad esempio fare un paio di sessioni da 20 minuti la settimana, o finire il tuo allenamento con qualche minuto con il Cardio Rebounder. Come idea, potresti cambiare le corde ogni 2 - 4 minuti. Io lo trovo molto utile, quando torno a casa dopo una situazione di stress! 
 Qualche salto, un po’ di stretching e mi sento rinato!
COME FACCIO AD ALLENARMI NELLA “ZONA BRUCIA GRASSI”?
Si sente spesso parlare di questa zona… che - per una volta - non ti spinge a dare sempre e solo il 100% del tuo allenamento. Vediamo perché.
Sia che si stia passeggiando sia che si stia facendo un’attività più intensa, il corpo ha bisogno di “carburante”, che cerca nei carboidrati immagazzinati (sotto forma di glucosio) e nei i grassi (sotto forma di tessuto adiposo): la scelta dipende dall'intensità dell'attività.
Quando si inizia una qualsiasi routine di allenamento, si passa da una fase di riposo a una di maggiore intensità. Questo salto iniziale utilizza principalmente il glucosio come carburante. Quando si mantiene un ritmo di esercizio costante, con un un’intensità da bassa a moderata, il consumo di glucosio diminuisce e aumenta il consumo di grassi: questa è la Fat-burning zone ( o zona 2).
In questa zona si mantiene circa il 60%-70% della frequenza cardiaca massima e circa il 65% di tutte le calorie bruciate proviene dai grassi come fonte di carburante.
Trattandosi di un allenamento a bassa/media intensità, la zona brucia-grassi è ideale anche per i principianti che vogliono stabilire una routine e non richiede tempi lunghi di recupero. Insomma, è facilmente accessibile e gestibile.
In questa zona, potendo allenarsi più a lungo, si lavora sulla resistenza, aumentando la capacità del corpo di trasportare ossigeno ai muscoli e usarlo per la produzione di energia. Più ossigeno = più ossidazione dei grassi = + calorie bruciate.
Per calcolare la tua zona brucia-grassi, puoi usare uno smart tracker, uno smart watch o anche un calcolatore online (basta inserire l’età per avere un range di riferimento). Oppure ti affidi al “test della conversazione”: la maggior parte delle persone può parlare e cantare durante un'attività a bassa intensità; se si riesce a parlare ma non a cantare, ogni tanto devi prendere fiato e l'attività può essere considerata di intensità moderata.
Quindi riassumendo tutto: battito cardiaco costante in fat burning zone, intensità medio/bassa delle corde (circa 1 rossa o due nere), 20 minuti per almeno 3 volte la settimana.
E se superi questa zona?
Se si aumenta l'intensità dell'esercizio a circa il 70%-80% della frequenza cardiaca massima (ad esempio, trasformando la camminata veloce in una corsetta o in una corsa leggera), circa il 65% di tutte le calorie bruciate proviene dal glucosio come fonte di carburante. Siamo nella zona Aerobica (o zona 3): parlare richiede uno certo sforzo.
Allenarsi per lunghi periodi in questa zona diventa più impegnativo, per via dell’intensità maggiore, rendendola una scelta meno adatta alle persone non tanto allenate. In zona 3 si bruciano grassi e si lavora sulle prestazioni, rafforzano i muscoli e sviluppando la loro capacità di resistenza: significa che è un allenamento che ti aiuta a completare gli allenamenti della zona fat-burning con meno sforzo.
E se vado sotto la zona 2?
Sei in zona 1, l'intensità dell'esercizio è leggera, a circa il 50%-60% della frequenza cardiaca massima. La sensazione è confortevole, leggera e rilassante: riesci a sostenere facilmente una conversazione e a mantenere questa intensità per lunghi periodi di tempo. Questa zona viene spesso utilizzata per il riscaldamento e il defaticamento (ad esempio lo stretching finale), perché migliora la circolazione sanguigna e favorisce il recupero attivo. In questa zona il corpo utilizza principalmente grassi per produrre energia, ma visto il numero esiguo, potrebbero non essere sufficienti per iniziare a bruciare i depositi di grasso.
Chi soffre di obesità, sovrappeso o diabete, ha difficoltà nel prelevare gli acidi grassi dal tessuto adiposo, usando gli zuccheri anche a basse intensità: in queste situazioni ci si rivolge ad uno specialista che potrebbe ad esempio indicare di iniziare in modo graduale, per stimolare progressivamente la capacità del corpo di usare i grassi come carburante.
Non entro nel merito di allenamenti creati ad hoc da esperti sulle proprie caratteristiche specifiche, ma il messaggio che leggo è che alla fine anche il nostro corpo ha sempre bisogno delle nostre cure, del nostro amore e della nostra gentilezza.
Ci sono altre zone?
Sì: la 4 e la 5. Sono zone più intense e chiaramente vengono sostenute per tempi molto più brevi. Non usano il grasso come fonte di energia, ma migliorano le performance. In questo articolo puoi trovare maggiori informazioni sulle zone cardiache.
E quindi che si fa?
Buonsenso. Concentriamoci sul fare solo cose che ci fanno stare bene e ci rendono felici: la maggior parte di noi non deve vincere le olimpiadi, ma “semplicemente” prendersi cura del proprio benessere e vincere la “sfida” contro la sedentarietà…. magari senza troppa fatica!
Parti sempre per gradi, in base al tuo livello di allenamento. Il primo obiettivo potrebbe essere arrivare gradualmente alla zona Fat Burning per 20 minuti; poi potresti iniziare a sostituire qualche minuto con la zona Aerobica, sperimentare e trovare la tua combinazione sostenibile e divertente. 
Tra le varie possibilità con il Cardio Rebounder, Marjolein suggerisce ad esempio di alternare ogni tot minuti (ad esempio 4) il numero di corde, alternando la resistenza media, forte e leggera. In questo rendi l’allenamento vario e divertente, non ti sforzi per lungo tempo su un’unica zona, ma approfitti dei benefici che caratterizzano le diverse zone: dal miglioramento del metabolismo alla capacità di bruciare più calorie in meno tempo, dal miglioramento del benessere cardiovascolare alla riduzione dello stress.
Durante le dirette, viene spesso proposto questo video. Dallo studio commissionato da Stamina Products per l’Aeropilates, quello che si vede è che a parità di sforzo (comparabile ad una camminata tranquilla) e di tempo, con il Cardio Rebounder il battito cardiaco è più alto: questo ci da un’indicazione sul maggior numero di calorie consumate per ogni minuto di allenamento.
Senza contare che con l’Aeropilates non c’è l’impatto delle ginocchia o delle anche contro il suolo e che il collo e le spalle sono rilassate. 
Inoltre, la signora entra nella sua fat-burning zone velocmente dopo circa due minuti. Ne servono, invece, 5 per l’ellittica e qualcosa in più per il tapis roulant.
COME USARE IL CARDIO REBOUNDER NELL’ALLENAMENTO
Sia che vengano fatti 20 minuti in un’unica sessione o in più blocchi, puoi cambiare il numero di corde durante l’utilizzo del Cardio Rebounder: cambierà anche il modo di saltare. Considerato che è sempre meglio non iniziare o interrompere bruscamente uno sforzo (questo per evitare ad esempio giramenti di testa), inizia con un’intensità media (in questo modo fai anche un po’ di riscaldamento) e finisci con un’intensità bassa o media per il defaticamento/cool-down. Puoi cambiare le corde ogni 2 o più minuti o ad ogni blocco di esercizi di pilates (ad esempio 3 blocchi da 7 minuti, se vuoi fare circa 20 minuti di rebounding).
Come scrivere sopra, arrivare a 20 minuti di rebounder non è facile per tutti. Quindi tutto va adattato alla propria situazione, partendo per gradi: se non riesci a fare 20 minuti, parti con quello che riesci, sperimenta con le corde o suddividi l’allenamento con il Cardio Rebounder in blocchi, tra una serie di esercizi e l’altra oppure durante la giornata.
Un esempio di schema a 5 blocchi che puoi usare è questo:
1) intensità media > (1 corda rossa) oppure ( 1 corda rossa + 1 gialla) oppure (2 corde nere) oppure (2 corde nere + 1 gialla)
Con l’intensità media c’è il giusto equilibrio tra lavoro degli addominali e quello delle gambe; hai anche abbastanza tempo per fare qualche movimento con le gambe (più muscoli si attivano, più calorie si utilizzano). Ad esempio, porta le ginocchia verso il petto, o fai l’esercizio delle Forbici con le gambe (Scissors) o muovi contemporaneamente le braccia come negli Arm Lowers (abbassamento dello braccia).
2) Intensità alta > (1 corda rossa + 1 nera + 1 gialla) oppure (4 corde nere)
Il movimento simula una corsa sul posto, ma senza l’impatto del terreno sulle articolazioni: i salti sono molto piccoli e veloci, il movimento del carrello è minimo. (Con un’intensità alta, i salti più lunghi rischierebbero di far muovere il reformer. p.s. succede anche con i reformer più grandi e pesanti).
3) Intensità bassa > (1 corda nera) oppure (1 corda gialla)
Hai più tempo per “giocare” con le gambe in aria e gli addominali sono completamente attivi. Ricorda che saltare con la sola corda gialla è impegnativo: il salto è lento, ma devi sforzarti di più per mantenere il controllo del movimento.
4) Intensità medio/alta > (1 corda rossa + 1 nera) oppure (3 corde nere)
5) Intensità medio/bassa >  (1 nera + 1 gialla) 
Come vedi, sono tante le combinazioni possibili!
SUGGERIMENTI UTILI
Per personalizzare l’allenamento secondo le tue esigenze, considera che:
- Più corde fanno lavorare i muscoli più grandi / mobilizzatori e contribuiscono ad alzare il battito cardiaco. Salti più velocemente, sudi di più e il salto è più corto, fino a diventare una sorta di corsa sul posto. Non esagerare con le corde: se ad esempio, dopo aver usato molte corde, senti fastidio alla zona lombare, molto probabilmente è il segnale che la combinazione scelta non è adatta per te. Probabilmente gli addominali non sono ancora forti abbastanza per controllare il movimento e mantenere la posizione neutra: in questo caso puoi abbassare il numero di corde o ridurre il tempo di allenamento con questa combinazione di corde per te impegnativa e alternarla ad altre. 
 Durante un workout con il Cardio Rebounder, Marjolein di solito effettua brevi sessioni con più corde facendo una “corsa” sul posto, alternando poi con una resistenza media e una maggior ampiezza dei movimenti.
- Meno corde fanno lavorare di più i muscoli addominali / stabilizzatori. Suderai inizialmente di meno, salterai più lentamente e il salto sarà più lungo: ma questo non vuole dire che l’allenamento sarà meno efficace perché, rimanendo in aria per più tempo, dovrai usare molto di più il core e tenere attivi i muscoli delle gambe. Se attivi più muscoli mentre salti (muovendo le braccia, alzando il busto come nell’esercizio “Hundred” o muovendo le gambe come mostrato negli esercizi da Marjolein), il corpo avrà bisogno di più energie . Anche con corde molto basse (una gialla) Marjolein effettua brevi sessioni. 
In entrambi i casi, se senti fastidio: fermati e fai un po’ di stretching o cambia posizione e/o numero di corde e/o esercizio. L’obiettivo dell’allenamento con il Cardio Rebounder è fare un’attività cardio vascolare a basso impatto e divertente.
Anche se scegli un allenamento “tutto cardio”, per una sessione più completa potresti iniziare con il classico warmup-footwork (riscaldamento con i piedi sulla barra di appoggio: lo trovi anche nel poster) fatto con le pulsazioni e, dopo la parte con il Cardio Rebounder, chiudere con lo stretching.
Durante il salto, le gambe non devono essere abbandonate a se stesse: il movimento deve essere controllato e i muscoli delle gambe attivi. Con meno corde, rimarrai più in aria e dovrai tenere i muscoli attivi per più tempo: ecco perché anche con poche corde l’allenamento con il cardio rebounder è comunque efficace!
Quando le gambe sono parallele, puoi usare un asciugamano piegato o una palla da pilates un po’ sgonfia da stringere tra le ginocchia: questo ti aiuta ad attivare meglio i muscoli dell’interno coscia e delle ginocchia. Ricordati di mantenere le rotule allineate ai piedi.
Quando salti o atterri, se senti che sbatti contro i fermi, regola il salto: l’esercizio non è dare più slancio, ma attivare i muscoli e bruciare calorie. Quindi: divertiti ma rimani focalizzata!
Per rendere più vario l’allenamento (e far passare il tempo più velocemente):
- puoi cambiare spesso la posizione, ad esempio ogni 10/12 salti. 
- puoi alternare movimenti più faticosi a quelli più leggeri 
- puoi cambiare la posizione dei piedi. La posizione dei piedi in fase di atterraggio determina quali muscoli vengono attivati: rotazione interna (piedi ad “A”) per l’esterno coscia, esterna (piedi a “V”) per l’interno coscia, parallela, verso l’alto, verso il basso per gli addominali “bassi”, etc.). 
- puoi anche saltare di lato e in ginocchio... o inventarti nuove coreografie: guarda i video dedicati al Cardio Rebounder di Marjolein e quando non sei sdraiata, fai sempre in modo di essere in una posizione dove ti senti sicura e stabile. 
Non è obbligatorio avvitare ogni volta il Cardio Rebounder con i pomelli. È comunque un’operazione molto veloce e personalmente la consiglio: l’Aeropilates sarà più silenzioso. Non stringere troppo le viti altrimenti quando salti potresti sentire come un cigolio o un click: in questo caso basterà un quarto di giro in meno.
Per rendere un po’ più fermo il Cardio Rebounder quando lo usi senza le viti, puoi fare uno / due giri di nastro adesivo (io uso quello per i manubri delle biciclette da corsa) attorno alla base dei piedini (facendo attenzione a non coprire i fori per le viti).
ALCUNE PRECAUZIONI
Se senti un senso di nausea, probabilmente è perché stai fissando un soffitto bianco o di un colore uniforme: senza un punto di rifermento (ad esempio, un lampadario, una finestra, una crepa etc), il cervello percepisce un movimento che gli occhi però non stanno registrando (motion sickness). Per ovviare a questo, fai in modo che la testa sia leggermente sollevata (puoi alzare il poggiatesta o usare il cuscino ergonomico Aeropilates) e guarda in avanti e non in alto.
Quando salti, il bacino rimane appoggiato al cuscino. Se senti che inizia darti fastidio la zona lombare, potrebbe essere che non stai mantenendo la posizione corretta (neutra) e/o che i tuoi addominali non sono ancora abbastanza forti: fermati oppure inizia a salare a gambe alternate (portando il ginocchio libero verso il petto —come spiegato nei video introduttivi), oppure abbassa il numero delle corde. Con troppe corde è più difficile mantenere le posizione neutra: te ne accorgi perché si tende ad appiattire e a sforzare inutilmente il tratto lombare (senti proprio che il movimento parte da quella zona, piuttosto che dagli addominali e/o dai glutei). Per mantenere la posizione neutra bisogna concentrarsi sugli addominali (che significa, far partire lo sforzo dal core - espirare nel momento di maggior sforzo ti aiuta ad attivarlo ) e sentire i muscoli dei glutei che si attivano durante il salto: per questo non si dovrebbero sentir lavorare i muscoli della zona lombare. Se così fosse, opta per una resistenza media.
Saltare con gambe alternate è meno faticoso che saltare a gambe parallele. Puoi anche aggiungere un asciugamano piegato sotto il tratto lombare.
Se senti tensione sul collo e spalle, prova ad usare il cuscino ergonomico Aeropilates o un asciugamano arrotolato sotto la testa. Prova anche in questo caso a concentrarti sugli addominali.
Se hai problemi alle ginocchia, oltre a consultare chiaramente il tuo medico per capire come gestire la situazione, di solito si evitano le rotazioni all’interno dei piedi. Se le ginocchia tendono a toccarsi quando si allungano le gambe, di solito si riduce l’estensione del movimento prima che questo accada e si tengono separati i piedi (anche leggermene ruotati verso l’esterno), facendo comunque in modo che anche, ginocchia e caviglie siano sempre allineate.
“All’inizio è normale scoprire che i tuoi addominali sono deboli. Questo è quello che raccomandiamo: inizia a saltare con due corde nere, un piede alla volta, dal destro a quello sinistro, portando al petto un ginocchio alla volta. Non appena gli addominali diventeranno più forti, potrai saltare con entrambi i piedi. Sii gentile con te stessa.”
L’AEROPILATES SI MUOVE QUANDO SALTI?
Se si muove l’Aeropilates quando salti, probabilmente vuol dire che non stai saltando nel modo corretto o stai eseguendo movimenti troppo ampi per il numero di corde scelto o la resistenza impostata è troppo alta o stai “spingendo” con i piedi nel Cardio Rebounder (come faresti in verticale per darti la spinta)… o è una combinazione di queste cose!
Prima cosa inizia con un paio di corde (ad esempio: 2 nere oppure 1 rossa). Troppe corde, se non si eseguono le indicazioni date nei video da Marjolein per le varie posizioni, rischiano di rendere inutilmente faticoso l’esercizio, di rendere difficile il mantenimento della posizione neutra (che serve anche per proteggere la zona lombare, evitando inutili compressioni) e di far muovere l'Aeropilates. 
Seconda cosa, a meno che tu non abbia un pavimento scivolosissimo e abbia appena passato la cera, se l’Aeropilates si muove eccessivamente mentre salti, probabilmente non stai saltando nel modo corretto: vedrai che in poco tempo riuscirai a capire e sentire la differenza. Più sotto trovi altri consigli e “trucchi”.
Tieni sempre a mente che saltare con il Cardio Rebounder è facile e divertente, ma non è come saltare in verticale sul classico trampolino elastico. Quando salti in orizzontale, non c’è la forza di gravità che ti porta a terra: ecco perché serve meno resistenza ed una tecnica leggermente diversa.
Più che spingere, prova ad immaginare che stai allungando le gambe, rimbalzando con un tocco leggero punta-tallone, quasi senza gravità: al contrario del salto in verticale contro la gravità, dove devi spingere più che puoi per saltare in alto, con l’AeroPiates devi controllare sia la spinta (non devi fare un buco nel tappetino) che l’atterraggio.
Come suggerisce Marjolein, è tutto nel salto: atterra con le ginocchia morbide (leggermente piegate), i muscoli addominali attivi (espira quando atterri), sempre con controllo.
Ecco altri consigli:
- Non atterrare con i piedi piatti, ma con un movimento punta/tallone. Soprattutto quando usi molte corde, non atterri per prendere la spinta necessaria al salto successivo, come faresti in verticale, ma atterri con le ginocchia morbide, punta/tallone e poi allunghi di nuovo le gambe per saltare. 
- Attiva gli addominali quando atterri: prova ad espirare (e immaginati che attivando il core stai “frenando” l’atterraggio). 
- Pensa alla lunghezza nel salto: se controlli il movimento con gli addominali e ti allunghi durante il salto, non atterrerai in modo aggressivo, sbattendo il carrello contro i fermi. 
- Inizia con una resistenza media. 
Se nonostante tutti questi accorgimenti, il tuo Aeropilates si muove ancora, puoi provare questi “trucchi” condivisi nel gruppo:
Copertura di Protezione in Silicone per Gambe di Sedie (senza feltrino sotto!)
Il numero di blocchi dipende da quanto spazio hai: questa misura permette di allungare la gamba oltre il reformer quando vengono eseguiti gli esercizi del riscaldamento con una gamba.
- metti un tappeto antiscivolo sotto l’Aeropilates (oppure le reti gommate antiscivolo sotto il tuo tappeto) 
- acquista sul sito aeropilates.eu il tappetino gommato originale (è simile a quello da yoga, ma più resistente, più spesso, più lungo e con una texture antiscivolo più definita su entrambi i lati - quindi qualcosa difficilmente reperibile nei negozi normali). Consiglio comunque di metterci sotto le reti gommate antiscivolo. 
- metti tra l’Aeropilates (dove c’è il cardio rebounder) e il muro 3/4 blocchi da yoga. Se hai lo stand / supporto devi prendere anche una piccola mensola da posizionare tra le gambe dello stand (come nella foto). Se non hai lo stand, dovrai incidere la parte centrale del primo blocco per incastrare le rotelle (il materiale è morbido e non servono attrezzi particolari). 
- mettei dei tappi in silicone per sedie (senza feltro) sui 4 piedini principali dell’Aeropilates. 
Puoi ammortizzare l’impatto con dei ferma porta a “8”
CONTROLLO = CONCENTRAZIONE = EFFICACIA
Non è tanto la forza della spinta a contare (non devi spingere troppo forte come nel salto in verticale, altrimenti il carrello sbatte contro i fermi - che puoi “rivestire” con dei ferma porte a forma di “8” per renderli più silenziosi ammortizzare l’impatto), ma quanto attivi i muscoli delle gambe o degli addominali.
Per attivare i muscoli dell’interno coscia o delle ginocchia, può essere utile stringere tra le gambe (ovviamente quando hai le gambe parallele) un asciugamano arrotolato o una palla da pilates semi-sgonfia (rimane più ferma).
Soprattutto le prime volte e quando inizierai ad usare più corde, mantenere il bacino in posizione neutra richiede il lavoro degli addominali: quindi meglio partire con meno carico, mantenere la posizione corretta e attivare bene i muscoli. Puoi comunque bruciare molte calorie!
POSSO RENDERE L’ALLENAMENTO ANCORA PIÙ CARDIO?
A volte mi scrivete che fate fatica ad alzare il battito cardiaco. 
Ecco alcune idee (anche divertenti):
- usare dei pesetti da tenere in mano (in questo video Marjolein ha usato delle lattine di sugo) 
- muovere le braccia durante il salto (ad es. come negli Arm Lowers / Abbassamenti delle braccia) 
- muovere le gambe durante il salto (limitare i movimenti quando si usano molte corde) 
- alzare le gambe (ad esempio, portando le ginocchia al petto) durante il salto (non con tante corde) 
- alzare la testa come negli Hundreds (la testa è la naturale estensione della schiena e le spalle sono sollevate, ma le scapole rimangono a contatto con il cuscino). Questa posizione permette di far lavorare ancora di più gli addominali (meglio non usare questa tecnica in modo continuativo, ma ogni tanto: se senti tensione al collo o non riesci a mantenere la posizione in modo confortevole, evitala o appoggia il collo sul poggiatesta). 
- cantare mentre salti 
- discutere ad alta voce, da sola, mentre immagini di avere davanti a te un collega che ti ha fatto arrabbiare e al quale non sei riuscita a dire quello che volevi. 
Ti viene in mente altro?
Scrivo nei commenti!

 
             
             
             
             
             
             
            